聯系人:王經理
銷售電話:15610293837
銷售QQ:2962700085
公司地址:山東省濰坊高新區新城街道玉清社區光電路155號濰坊高新區光電產業加速器(一期)1號樓301

PRODUCT CENTER
聯系人:王經理
銷售電話:15610293837
銷售QQ:2962700085
公司地址:山東省濰坊高新區新城街道玉清社區光電路155號濰坊高新區光電產業加速器(一期)1號樓301
森林防火氣象站又稱森林火險監測站,森林火險預警氣象站,森林防火氣象站通過監測容易發生森林火災區域的風速風向、空氣的溫度、相對濕度、太陽輻射等氣象因子,可以對預防森林大火的發生。
一、森林防火氣象站產品簡介
森林防火氣象站又稱森林火險監測站,森林火險預警氣象站,森林防火氣象站通過監測容易發生森林火災區域的風速風向、空氣的溫度、相對濕度、太陽輻射等氣象因子,可以對預防森林大火的發生。
森林火災是森林生態系統的大敵,它能在很短時間內,燒毀大面積的森林和大量的林副產品,破壞林分結構和森林環境,破壞自然界生態平衡,造成氣候失調,水土流失,河流淤塞,洪水泛濫或水源枯竭。通過監測容易發生森林火災區域的風速風向、空氣的溫度、相對濕度、太陽輻射等氣象因子,可以對預防森林大火的發生,在發生大火時也可以指導工作人員進行快速合理的滅火工作,使財產損失降到低點。
該設備由氣象傳感器,采集器,太陽能供電系統,立桿支架,云平臺五部分組成。免調試,可快速布置,廣泛運用于氣象、農業、林業、環保、海洋、機場、港口、科學考察、校園教育等領域。
二、產品特點
1、低功耗采集器:靜態功耗小于50uA
2、標配GPRS聯網、支持擴展藍牙、有線傳輸
3、7寸安卓觸屏,版本:4.4.2、四核Cortex?-A7,512M/4G
4、支持modbus485傳感器擴展
5、太陽能充電管理MPPT自動功率點跟蹤
6、三米碳鋼支架,兩節法蘭盤對接
7、配備聲光報警器
8、人員靠近設備可聲光喊話報警,可短信/電話云通知
9、ABS材質防護箱,耐腐蝕、抗氧化,防水等級IP66
三、技術參數
名 稱 | 測量范圍 | 分 辨 率 | 準 確 度 |
環境溫度 | -50~+100℃ | 0.1℃ | ±0.5℃ |
相對濕度 | 0~100%RH | 0.1% | ±3% RH |
風 向 | 0~360°(16方向) | 1° | ±5° |
風 速 | 0~60m/s | 0.1m/s | ±(0.3+0.03V)m/s |
雨 量 | ≦4mm/min | 0.2mm | ±0.4mm |
光照強度 | 0-200000Lux | 1Lux | ±2% |
大氣壓力 | 10~1100hPa | 0.1hPa | ±0.3hPa |
土壤溫度 | -50~+80℃ | 0.1℃ | ±0.5℃ |
土壤濕度 | 0~100% | 0.1% | ±3%RH |
二氧化碳 | 0-5000PPM | 1PPM | ±40PPM±讀數的3% |
可以根據用戶需求拓展配置:日照時數、蒸發量傳感器、露點溫度傳感器、紫外線輻射傳感器、光合輻射傳感器等各種氣象要素傳感器。 | |||
供電系統 | 市電/太陽能/多電源供電系統可選 | ||
通訊系統 | RS485、USB、無線GPRS、以太網等通訊方式 | ||
專用支架 | 安裝防護箱、傳感器、供電電源、通訊設備等 | ||
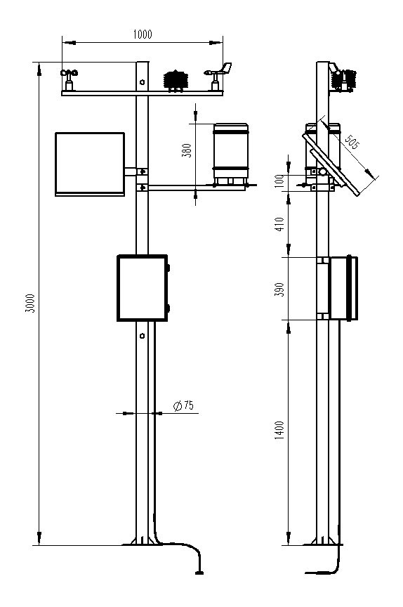
四、產品尺寸圖
五、產品結構圖
六、上位機軟件介紹
1、PC單機版數據接收、存儲、查看、分析軟件
2、支持串口數據接收、處理、展示
3、支持json字符串、modbus485等通信方式
4、可自設置存儲時間,modbus485采集模式下可自設置采集時間
5、支持自助增加、刪除、修改監測參數的協議、名稱、圖標等
6、支持數據后處理功能
7、支持外置運行javascript腳本
七、安卓APP介紹
1、安卓單機版數據接收、存儲、查看、分析軟件
2、支持藍牙數據接收
3、手機休眠后軟件后臺接收、處理
4、json數據自動添加設備,modbus設備支持掃碼添加設備
5、支持歷史數據查看、分析、導出表格,支持曲線展示、單數據點查看。
6、支持數據后處理功能
7、支持外置運行javascript腳本
八、云平臺介紹
1、CS架構軟件平臺,支持手機、PC瀏覽器直接觀測、無需額外安裝軟件。
2、支持多帳號、多設備登錄
3、支持實時數據展示與歷史數據展示儀表板
4、云服務器、云數據存儲,穩定可靠,易于擴展,負載均衡。
5、支持短信報警及閾值設置
6、支持地圖顯示、查看設備信息。
7、支持數據曲線分析
8、支持數據導出表格形式
9、支持數據轉發,HJ-212協議,TCP轉發,http協議等。
10、支持數據后處理功能
11、支持外置運行javascript腳本
WX-LS5手持式雷達流速儀是一種可以手持操作的雷達測速設備,它采用了先進的雷達技術,通過發射微波信號并接收反射回來的信號,來測量水體的流速。與傳統的機械式流速儀相比,手持式雷達流速儀具有非接觸式測量的優勢,無需在水體中安裝傳感器,從而避免了因水流沖刷或沉積物影響而造成的測量誤差。···
答案在WX-CQ6多功能氣象站,通過它農民可以了解哪些氣象參數對作物生長最佳,并根據這些數據調整種植計劃和管理措施。如調整灌溉計劃、施肥計劃等,這樣可以更好地管理農作物,提高產量和質量。除了種植業,還有養殖業也需要多功能氣象站的數據支持,當氣象參數偏離畜禽類生長的最佳范圍時,自動氣象站可以提醒農民采取相應的措施···
大家都知道天氣對于出行有著極大的影響,如果碰到惡劣的天氣極易導致交通事故的發生,WX-GQX8交通氣象站起到的作用就是監測能見度、風速、風向、溫度、濕度、大氣壓、雨量、路面狀況等影響道路交通的要素,無論是陰晴雨雪,還是風速、氣溫、濕度等各項指標,我們都能在出行前了解到最新的天氣信息,以便做好相應的準備。···
WX-EL2戶外光伏電站測試儀的使用是一種為了保證光伏電站的安全運行和發電效率的有效手段,它可以幫助排除那些可能導致設備故障和電力損失的隱患,搭載2400萬級紅外相機可有效幫助用戶發現光伏板內部直流質量問題,在確保光伏電站的安全運行和發電質量方面起到重要作用。戶外光伏電站測試儀作為一款可靠實用的太陽能電池板內部缺陷檢測儀器,對于光伏發電行業來說是一個全新的突破···
光伏電站的運行效率直接關乎到綠色電力的產出與經濟效益。而WX-FGF9光伏環境監測儀器,就是這一過程中的關鍵角色。它們通過高精度傳感器,實時監測光照強度、溫度、濕度、風速風向等關鍵環境參數,為電站運維人員提供詳盡的數據支持。這些數據不僅能幫助優化光伏組件的布局與朝向,提升發電效率,還能在極端天氣下提前預警,減少因自然災害造成的損失。···
森林火災是一種極具破壞力的自然災害,一旦發生,不僅會造成巨大的經濟損失,還會對生態環境造成長期的負面影響。因此,預防森林火災的工作至關重要。而WX-SL10森林氣象火險監測站,就是預防森林火災的第一道防線。森林氣象火險監測站通過一系列先進的監測設備和系統,對森林中的氣象條件、可燃物濕度、火源等關鍵因素進行實時監測和數據分析。這些設備能夠精準地捕捉到森林中的細微變化,為防火人員提供及時、準確的信息,以便他們迅速做出反應。···