聯系人:王經理
銷售電話:15610293837
銷售QQ:2962700085
公司地址:山東省濰坊高新區新城街道玉清社區光電路155號濰坊高新區光電產業加速器(一期)1號樓301

PRODUCT CENTER
聯系人:王經理
銷售電話:15610293837
銷售QQ:2962700085
公司地址:山東省濰坊高新區新城街道玉清社區光電路155號濰坊高新區光電產業加速器(一期)1號樓301
一體化防爆氣象儀又稱一體化防爆氣象傳感器,防爆氣象傳感器,一體化防爆氣象儀是一款高度集成并具有防爆功能的氣象儀器,可安裝在易燃易爆環境中準確測量各種氣象數據,可用于化工廠、油庫等領域。
一、一體化防爆氣象儀產品簡介
一體化防爆氣象儀又稱一體化防爆氣象傳感器,防爆氣象傳感器,一體化防爆氣象儀是一款高度集成并具有防爆功能的氣象儀器,可安裝在易燃易爆環境中準確測量各種氣象數據,可用于化工廠、油庫等領域。
山東萬象環境科技科技有限公司作為專業研發生產銷售一體化防爆氣象傳感器的企業,一直致力于微型氣象儀和氣象環境解決方案推廣應用。具有完整的生產鏈、實力雄厚的技術團隊和全面的營銷團隊,我們研發生產的超聲波防爆風速風向儀、防爆五要素微氣象儀等氣象產品,已廣泛應用到化工廠、油庫、隧道、礦井等領域,客戶遍布全國各地,并取得了良好的社會效益和經濟效益。
與傳統的微型氣象儀相比,我司產品克服了對高精度計時器的需求,避免了因傳感器啟動延時、解調電路延時、溫度變化而造成的測量不準問題。
WX-WFB5型防爆五要素微氣象儀創新性地將風速、風向、溫度、濕度、大氣壓力通過一個高集成度結構來實現,可實現戶外氣象參數24小時連續在線監測,通過數字量通訊接口將五項參數一次性輸出給用戶。
二、一體化防爆氣象儀產品特點
1、頂蓋隱藏式超聲波探頭,避免雨雪堆積的干擾,避免自然風遮擋
2、原理為發射連續變頻超聲波信號,通過測量相對相位來檢測風速風向
3、風速、風向、溫度、濕度、大氣壓力五要素一體式
4、采用先進的傳感技術,實時測量,無啟動風速
5、抗干擾能力強,具有看門狗電路,自動復位功能,保證系統穩定運行
6、高集成度,無移動部件,零磨損
7、免維護,無需現場校準
8、采用ASA工程塑料室外應用常年不變色
9、產品設計輸出信號標配為RS485通訊接口(MODBUS協議);可選配232、USB、以太網接口,支持數據實時讀取☆
10、可選配無線傳輸模塊,最小傳輸間隔1分鐘
11、探頭為卡扣式設計,解決了運輸、安裝過程松動不準的問題☆
三、一體化防爆氣象儀技術參數
1)風速:原理超聲波,0~70m/s(±0.1m/s);
2)風向:原理超聲波0~360°(±1°);
3)空氣溫度:原理二極管結電壓法,-40℃~85℃(±0.3℃);
4)空氣濕度:原理電容式,0~100%RH(±2%RH);
5)大氣壓力:原理壓阻式,300hPa~1100hPa(±0.02hPa);
6)生產企業具有Ex ia IIC T6 Ga高等級防爆證書☆
7)通過國家電器安全質量檢驗檢測中心檢驗☆
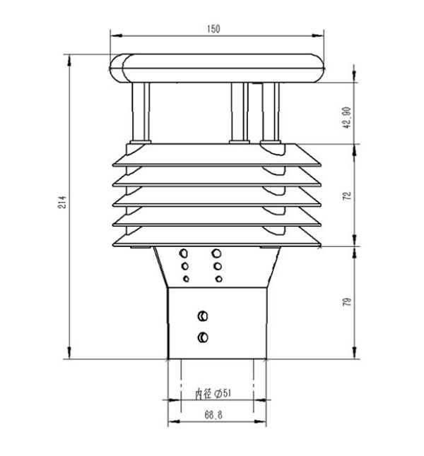
四、一體化防爆氣象儀產品尺寸圖
五、一體化防爆氣象儀產品結構圖
1、控制電路
2、指北箭頭
3、超聲波探頭
4、百葉箱
5、溫度、濕度、氣壓監測位置
6、底部固定法蘭
※此產品可選配電子羅盤、GPRS(內置)/GPS(二選一)
六、產品接線定義
VCC:棕色,GND:黑色,485A:綠色,485B:藍色
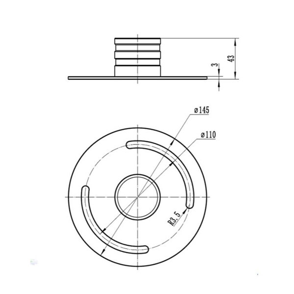
七、法蘭盤固定方式
1、微氣象儀
2、固定螺釘
3、通信電纜+航插
法蘭盤尺寸
農業四情自動監測系統是高標準農田建設配套設施嗎?在農業生產逐漸邁向智慧化、科技化的新時代的背景下,高標準農田建設配套設施逐漸興起,而且在春耕時節,一系列的黑科技設備正成為農民們的新寵,它們不僅提高了農業生產的效率,還大大增強了農作物的產量和質量。那么這些配套設施包括哪些呢?萬象環境的WX-4QS農業四情自···
WX-FZ5全彩屏高智能負氧離子監測站通過內置的負氧離子傳感器,實時捕捉空氣中的負氧離子,并經過內部數據處理系統進行分析和計算,最終將結果顯示在全彩屏幕上。用戶可以通過直觀的屏幕界面,實時了解景區公園內的負氧離子濃度情況。景區公園作為城市中的綠色空間,對于改善城市生態環境、提升居民生活質量具有重要意義。···
校園氣象站可用于校園的氣象環境監測,它是一款高度集成、低功耗、可快速安裝、便于教學使用的科研級氣象站。首先校園氣象站的組成:傳感器、立桿支架、設備箱、LED屏幕、采集器、云平臺、玻璃鋼百葉箱。傳感器是用來監測空氣中的溫濕度、風速風向、光照強度、大氣壓、雨量等氣象信息。直觀提供氣象數值,為師生提供教育教學數據。···
WX-SW4河道流量監測系統,是集成物聯網、大數據、云計算等先進技術的產物,它如同一雙敏銳的科技之眼,24小時不間斷地監測著河流的每一個細微變化。無論是狂風暴雨中的水位驟升,還是干旱季節的涓涓細流,都逃不過它的精準捕捉。通過高精度傳感器,系統能夠實時收集并傳輸水位、雨量、流速、流量等多維度數據,為水利部門提供全面、準確的信息支持。···
WX-BQX6P應急氣象站,是集高精度傳感器、大數據處理、人工智能預測技術于一體的綜合平臺。它如同天空中的“千里眼”,能夠實時監測風速、風向、溫度、濕度、氣壓等多維度氣象數據,并通過云計算和大數據分析,快速生成精準到分鐘級的天氣預報和災害預警。這種前所未有的精準度,為政府決策、公眾避險贏得了寶貴的時間。···
WX-GQX8高速氣象監測站是針對這種情況研發出來幫助緩解高速公路上的通行壓力的,天氣環境條件監測是高速公路科學緩解壓力的一個重要依據,這里說的天氣環境條件包括能見度、風速、風向、溫度、濕度、大氣壓、雨量、路面狀況等,把這些掌握了,交通事故就發生的概率小。氣象災害不僅嚴重影響交通運輸,并且也嚴重影響了大家的生命財產安全···